Запасные части ЧТЗ Запасные части ЧТЗ
Калининград
Например:
Актобе
Алдан
или
Выбрать автоматически
Актобе
Алдан
Алматы
Алчевск
Архангельск
Астана
Астрахань
Атырау
Баку
Балашиха
Барнаул
Белгород
Бердянск
Бишкек
Владивосток
Владикавказ
Воркута
Воронеж
Горловка
Грозный
Донецк
Екатеринбург
Иваново
Ижевск
Иркутск
Казань
Калининград
Каменск-Уральский
Караганда
Каховка
Кемерово
Киров
Комсомольск-на-Амуре
Костанай
Краснодар
Красноярск
Красный луч
Ленск
Луганск
Магадан
Магнитогорск
Макеевка
Махачкала
Мелитополь
Минск
Мирный (Якутия)
Москва
Мурманск
Нерюнгри
Нижневартовск
Нижний Новгород
Нижний Тагил
Новая каховка
Новокузнецк
Новосибирск
Новый Уренгой
Норильск
Ноябрьск
Нур-Султан
Омск
Оренбург
Ош
Павлодар
Пермь
Петрозаводск
Петропавловск
Петропавловск-Камчатский
Псков
Ростов-на-Дону
Салехард
Самара
Санкт-Петербург
Саратов
Севастополь
Семей
Симферополь
Сочи
Ставрополь
Сургут
Сыктывкар
Тараз
Ташкент
Токмак
Томск
Тында
Тюмень
Ульяновск
Усинск
Усть-Каменогорск
Уфа
Хабаровск
Ханты-Мансийск
Херсон
Челябинск
Чита
Шымкент
Экибастуз
Энергодар
Южно-Сахалинск
Якутск
Ваш город
Калининград
Войти
Запасные части к тракторам на одном сайте
+7 (932) 303-00-10
+7 (932) 303-00-10
г. Калининград, Московский проспект, д. 184
Пн-Пт: 9:30-18:30 Cб-Вс: Выходной
Отправить заявку


Масляная система (смазка) Т-170 Б-170 трактора в Калининграде


/
с НДС 20%
Описание

Снятие и разборка масляной центрифуги Т-170

Снятие масляной центрифуги

Установка масляной центрифуги
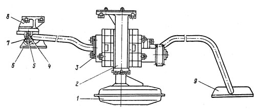
Рис. 64. Установка масляной центрифуги

Отсоедините трубки подвода и отвода масла, идущие от радиатора и закрепленные на фланцах 1 и 2 (рис. 64) центрифуги. Отверните со шпилек четыре гайки 3 крепления. Выверните две передние шпильки из маслораспределительной плиты и ослабьте крепление сливной трубы, вывернув из лонжерона болт хомута. Отодвигая сливную 1 трубу, сдвиньте со шпилек и снимите центрифугу с распределительной плиты.

Разборка масляной центрифуги

Центрифуга масляная
Рис. 65. Центрифуга масляная

Отверните гайки крепления фланцев 1 и 2 и снимите фланцы с прокладками со шпилек центрифуги. Отверните гайку 17 (рис. 65) крепления колпака 12 и снимите его с корпуса 8 центрифуги вместе с прокладкой 18. Отверните гайку 16 и снимите упорную шайбу 15, а затем ротор с оси 13.

Разборка ротора

Ротор отбалансирован, перед его разборкой нанесите метки на крышке и остове ротора для того, чтобы при последующей сборке установить эти детали в прежнее положение друг относительно друга.

Выверните гайку ротора 14 и разъедините крышку 10 с остовом ротора 11. Дальнейшая разборка ротора не рекомендуется.

Выверните ось 13 из корпуса центрифуги и извлеките маслоотводящую трубу 1 из отверстия корпуса.

Разборка корпуса с клапанами

Для разборки перепускного клапана выверните пробку 21 из корпуса центрифуги и выньте из отверстия пружину 22 с шариком 20.

Для разборки перепускного клапана-термостата выпрессуйте съемником корпус клапана 3. Извлеките из канавки корпуса пружинное кольцо 2, тарелку 5, пружину 4 и шарик 6.

Технические требования

  1. Допустимый зазор в местах сопряжения: подшипников остова и. оси ротора не более 0,16 мм; втулки сливного клапана и самим клапаном не более 0,26 мм.

  2. Коническую поверхность седла перепускного клапана необходимо обжать шариком Б 15-100 до образования непрерывного пояска шириной до 0,25 мм.

Сборка и установка масляной центрифуги Т-170

Сборка

Перед сборкой центрифуги удалите отложения со стенок ротора, прочистите и промойте жиклеры форсунок, находящиеся в остове ротора. Все детали промойте в чистом дизельном топливе, трущиеся поверхности смажьте чистым моторным маслом.

При сборке ротора уложите в кольцевую канавку остова ротора 11 (см. рис. 65) уплотнительное кольцо 9, смазав его моторным маслом. Остов ротора в сборе с козырьком 19 и насадкой введите до упора в крышку 10, совместив метки на остове и крышке. Затяните гайку 14 крышки ротора. Момент затяжки гайки 20...40 Н.м (2...4 кгс.м).

При сборке перепускного клапана-термостата установите в корпус клапана 3 шарик 6, пружину 4, тарелку 5, а затем, сжав пружину, установите в выточку клапана кольцо 2.

При сборке корпуса центрифуги с клапанами запрессуйте перепускной клапан-термостат в корпус центрифуги так, чтобы торец клапана утопал относительно плоскости корпуса центрифуги на величину (0,5±0,5) мм.

Причеканьте посадочное седло 23 перепускного клапана шариком Б 15-100 через оправку из мягкого металла до получения равномерного пояска шириной до 0,25 мм. Установите в гнездо корпуса шарик 20 перепускного клапана, пружину 22 и вверните пробку 21, подложив под нее прокладку.

При сборке корпуса с ротором запрессуйте маслоотводящую трубку 1 в отверстие корпуса. Заверните ось ротора 13 в резьбовое отверстие корпуса центрифуги так, чтобы трубка вошла в отверстие оси. Момент затяжки оси ротора 180...270 Н.м (18...27 кгс.м).

Наденьте на ось собранный ротор, шайбу 15 и наверните до отказа гайку 16 на ось. Проверьте наличие зазора между упорной шайбой 15 и торцом остова ротора. Зазор должен быть равен 0,6...1,25 мм. Ротор должен легко вращаться на оси.

Уложите в канавку корпуса центрифуги прокладку/и наденьте «а корпус колпак 12. Закрепите колпак, навернув на ось ротора гайку 17 с прокладкой 18. Установите на шпильки, ввернутые в корпус центрифуги, два фланца 1 и 2 (см. рис. 64) крепления подводящих, штуцеров, предварительно подложив под них прокладки. Фланцы закрепите' гайками 3 с пружинными шайбами.

Испытание и регулирование

Испытывайте центрифугу на специальном стенде стандартными минеральными маслами или их смесями с дизельным топливом, имеющем вязкость 14...18 сСт.

  1. Ротор центрифуги перед началом испытаний и полностью собранную центрифугу после окончания испытаний проверьте на герметичность при давлении масла 0,7...0,8МПа (7...8 кгс/см²) в течение одной минуты, не менее. Утечки не допускаются. Допускается легкое просачивание масла из-под подшипников и по резьбе ротора общим количеством не более 0,6 л/мин при заглушённых форсунках ротора центрифуги.

  2. Перепускной клапан должен срабатывать при разности давлений 600 ... 750 кПа (6...7,5 кгс/см²).

  3. При потоке масла в магистраль с производительностью 50 л/мин, давления на выходе из центрифуги 0,35 МПа (3,5 кгс/см²) и перепаде давления в центрифуге 550 кПа (5,5 кгс/см²) частота вращения ротора должна быть не менее 6000 мин-1. Поток масла на привод ротора должен быть не более 20 л/мин.

  4. Перепускной клапан-термостат должен срабатывать при разности давлений 100 ... 150 кПа (1 ... 1,5 кгс/см²).

Установка

Установите центрифугу с прокладкой на две задние шпильки маслораспределительной плиты, вверните две передние шпильки крепления центрифуги и закрепите ее четырьмя гайками 3 (см, рис. 64) с плоскими и пружинными шайбами.

Подсоедините масляные трубки к фланцам, с помощью штуцеров. Закрепите сливную трубу хомутом, ввернув, в лонжерон болт.

Маслораспределительная плита Т-170

Снятие

Маслораспределительная плита может быть снята после того, как снят центробежный масляный фильтр (масляная центрифуга).

Плита маслораспределительная
Рис. 66. Плита маслораспределительная

Снимите с плиты масляную центрифугу 1 (рис. 66) и фильтр грубой очистки топлива с кронштейном 2.

Отсоедините от штуцера плиты трубку 6 подвода масла к фильтру турбокомпрессора. Выверните датчик 5 указателя давления масла.

Отверните десять болтов 4, крепящих масло-распределительную плиту 3 к блоку, и снимите ее. Два болта расположены в углублении маслораспределительной плиты. Вывертывайте шпильки, пробки и штуцеры только при необходимости их замены или ремонта.

Сборка и установка

Заверните до отказа штуцеры и пробки в резьбовые отверстия маслораспределительной плиты. Вверните в резьбовые отверстия плоскости маслораспределительной плиты две задние шпильки крепления масляной центрифуги,

Протрите плиту 3 и привалочную плоскость блока, установите на блок прокладку и плиту. Прикрепите плиту к блоку десятью болтами 4 с пружинными шайбами. Установите масляную центрифугу 1 и фильтр грубой очистки топлива с кронштейном 2.

Снятие картера дизеля Т-170

Установка картера дизеля
Рис. 67. Установка картера дизеля

Картер состоит из двух частей. Переднюю часть картера можно снять, не снимая дизель с трактора. Заднюю часть картера 5 (рис. 67) без снятия дизеля удалить невозможно, так как этому мешает коробка рессоры.

Опустите вниз на шарнирах три защитных кожуха дизеля, вывернув сначала болты крепления с правой стороны кожухов, затем с левой.

Выверните сливные пробки 1 и 3 картера и слейте масло из дизеля.

Выверните болты крепления передней части картера к задней его части 5. Подложите под картер надежную опору или заведите тросы подъемника. Натяните тросы так, чтобы они полностью поддерживали переднюю часть картера. Выверните болты крепления передней части картера к блоку дизеля. Опустите картер немного вниз и отделите при помощи металлической лопатки прокладку от картера так, чтобы она осталась на блоке. Отделите от картера переднюю сторону прокладки между его передней и задней частями. Опустите переднюю часть картера и выведите ее из-под трактора.

Если дизель снят с трактора, то демонтируйте картер, не разъединяя его частей. Предварительно слейте масло и установите дизель на монтажном стенде картером вверх. Масса картера в сборе 42 кг. Выверните болты крепления картера к блоку цилиндров и кожуху маховика. Снимите картер. Привалочная поверхность к блоку обеих частей картера обработана в сборе, поэтому не следует раскомплектовывать их при разборке.

Сборка и установка картера дизеля Т-170

Вверните в переднюю часть картера 2 сливную пробку 1 и магнитную пробку 3 с резиновыми и медно-асбестовыми кольцами (см. рис 66).

Установите крышку 4 с прокладкой и закрепите ее болтами с пружинными шайбами.

Установка

Смажьте с обеих сторон прокладку между картером и блоком смесью (клей ПВА — 140 мл, каолин —2,8 кг, вода — 7 л), а прокладку между передней и задней частью картера — солидолом. Для направления картера при его установке в нижнюю плоскость блока предварительно вверните две направляющие шпильки длиной 100 мм с резьбой М10.

Заведите переднюю часть картера под трактор и установите на направляющие шпильки. Вверните, не затягивая окончательно, болты крепления передней части 2 картера к блоку. Притяните переднюю часть картера болтами с гайками к задней части 5, после чего окончательно прикрепите картер к блоку.

Если картер в сборе с задней частью устанавливается на дизель, снятый с трактора, приклейте прокладку между кожухом маховика 6 и задней частью картера клеем 88-НП к плоскости кожуха, маховика, а противоположную сторону прокладки смажьте солидолом С. Установите картер на установочные штифты и прикрепите к блоку дизеля и кожуху маховика.

Снятие и разборка масляного насоса Т-170

Снятие

Привод масляного насоса
Рис. 71. Привод масляного насоса

Слейте масло из картера. Снимите картер или его переднюю часть, снимите передний и задний маслоприемники, отсоединит приводную муфточку 6 (рис. 71), сняв кольца 8 и стопорные пальцы 7, сдвиньте муфточку по валу 3 привода; расконтрите шайбы и отверните болты, крепящие насос к блоку.

Насос масляный
Рис. 68. Насос масляный

Опустите насос, чтобы установочные штифты 12 (рис. 68) вышли из отверстий блока. Сдвинув насос назад, выньте валик привода с шестерней. Снимите масляный насос вместе с центральным маслоприемником.

Разборка масляного насоса

При работе насоса на дизеле все трущиеся детали (шестерни, валики, втулки и др.) прирабатываются. Поэтому при разборке насоса пометьте взаимное расположение плит, корпусов и шестерен в них, установите их при последующей сборке в таком же положении, в каком они находились в насосе до разборки. Это необходимо для сохранения прежней приработки шестерен по торцам трущихся деталей и обеспечения сборки насоса без подгонки деталей. Раскомплектовка шестерен или установка их к плоскостям другими торцами (при переворачивании) может нарушить нормальную работу насоса и вызвать повышенный износ деталей.

Отверните болты, крепящие центральный маслоприемник 23, и снимите его. Сверлом диаметром 5 мм высверлите штифт 11 из приводной шестерни 5. Снимите шестерню с валика 18 и выбейте из гнезда шпонку 6.

Пометьте две призонные шпильки 28 крепления насоса для последующей их установки в прежнее положение. Расконтрите шайбы 29 и отверните два болта 30 и гайки с двух призонных шпилек 28 с навернутыми и приклепанными гайками, стягивающими детали насоса. Выбейте медным молотком две призонные шпильки 29 и снимите их с насоса. Снимите с насоса легкими ударами медного молотка переднюю крышку 3, корпус 10 откачивающей секции и ведомую откачивающую шестерню8, ведущую откачивающую шестерню 4 со шпонки, стараясь при том не повредить плиту 2. Выбейте шпонку из гнезд.

Снимите плиту 2 и корпус 1 нагнетательной секции насоса. Снимите с оси ведомую шестерню 14 нагнетательной секции. Выньте из задней крышки валик 18 ведущих шестерен с плитой 13 и шестерней 20. Снимите с оси шестерню 15. Выпрессуйте ось 16. С валика 18 снимите шестерню 20. Выбейте шпонку из гнезда и снимите плиту 13.

Снимите при необходимости с валика ведущую шестерню 22 нагнетательной секции, предварительно высверлив в отверстиях под штифт закерненные места и выбив штифт.

Выпресеуйте ступенчатой оправкой втулки в передней и задней крышках, если они имеют большой износ. Разбирайте предохранительный клапан в такой последовательности: отогните концы стопорных шайб и отверните болты крепления крышки 24, снимите крышку и выньте из гнезда пружину 26 и клапан 27. Разбирайте предохранительный клапан только при необходимости. При разборке заметьте количество прокладок 25, так как ими регулируется давление масла при работе насоса.

Технические требования на детали масляного насоса Т-170

  1. Нормальный зазор между втулками и валиком ведущих шестерен должен быть в пределах 0,065...0,138 мм. При зазоре между втулками и валиком ведущих шестерен более 0,3 мм втулки замените новыми. Втулки 7, 9, 17 валиков масляного насоса в запасные части изготавливаются с припуском под развертку с внутренним диаметром 18,3+0,13 мм (детали 29-09-62РП; 29-09-58РП).

  2. Нормальный зазор между ведомыми шестернями и осью должен быть 0,020...0,064 мм. Допустимый зазор 0,10 мм.

  3. Боковой зазор между зубьями сопряженной пары должен быть равен 0,3 мил. Увеличение бокового зазора между зубьями шестерен вследствие износа допустимо до заострения зубьев.

  4. Торцовый зазор нагнетательных шестерен в корпусе нагнетательной секции должен быть 0,085...0,151 мм; торцовый зазор откачивающих шестерен в корпусе 21 откачивающей секции должен быть 0,079...0,157 мм. При износе шестерен торцовый зазор между плоскостями шестерен и их корпусом не должен превышать 0,4 мм.

  5. Плоскости плит и плоскости передней и задней крышек, если они имеют выработку в местах сопряжения с шестернями, восстанавливайте шлифованием и притиркой.

  6. Предохранительный клапан должен иметь гладкую поверхность. При износе рабочего уплотнительного пояска клапана притрите его, применяя притирочную пасту.

  7. Межцентровое расстояние между осями отверстий в передней и задней крышках под ось ведомых шестерен и осями отверстий во втулках вала ведущих шестерен должно быть 42,5 мм. Межцентровое расстояние между осью отверстия во втулке вала ведущих шестерен и осью отверстия во втулке приводного валика должно быть (71,95±0,05) мм.

  8. Натяг в сопряжении ось ведущих шестерен — задняя крышка должен быть 0,005...0,042 мм. Натяг в сопряжениях втулки валиков — передняя и задняя крышки насоса должен быть 0,016...0,062 мм.

  9. На обкатанном и отрегулированном масляном насосе вращение валика должно быть свободным. Заклинивание и заедание не допускаются. Момент проворачивания валика насоса должен быть не более 3 Н.м (0,3 кгс.м).

Сборка масляного насоса Т-170

Ведущий валик с шестерней
Рис. 69. Ведущий валик с шестерней

Для сборки ведущего вала шестерен посадите сегментную шпонку 2 (рис. 69) в канавку валика 1 легкими ударами медного молотка. Наденьте нагнетательную ведущую шестерню 3 на валик 1 и посадите ее медным молотком на шпонку так, чтобы расстояние от торца валика до торца шестерни было выдержано в пределах (56±0,5) мм. На расстоянии 8 мм от торца шестерни 3 разметьте, просверлите и разверните отверстие диаметром 4+0,16 мм под штифт 4 в шестерне и валике.

Забейте в отверстие штифт так, чтобы он утопал в отверстии, и осторожно раскерните края отверстия, не допуская выступания металла над впадинами зубьев.

Для сборки, передней крышки запрессуйте втулку 7 (см. рис, 68) в отверстие передней крышки 3. После запрессовки втулка не должна выступать за плоскость крышки, прилегающую к корпусу 10 откачивающей секции, допускается утопание втулки не более 1,0 мм. Запрессуйте втулку 9 под приводной валик. Разверните втулки 7 и 9 на размер, обеспечивающий между валиками и отверстием втулок зазор 0,060...0,126 мм.

Для сборки задней крышки запрессуйте втулку 17 в отверстие задней крышки 19. После запрессовки утопание торца втулки относительно торца привалочной плоскости допускается, не более 1,0 мм, выступание не допускается. Разверните втулку на размер, обеспечивающий между валиком и втулкой зазор 0,060...0,126 мм. Запрессуйте ось 16 ведомых шестерен заподлицо с наружным торцом крышки.

Для сборки корпуса нагнетательной секции с предохранительным клапаном смажьте предохранительный клапан 27 притирочной пастой, вложите клапан в гнездо корпуса 1 нагнетательной секции и, пользуясь коловоротом с конусной оправкой, притрите клапан.

После притирки промойте клапан и гнездо в керосине и проверьте прилегание клапана к седлу по краске. Прилегание должно быть не менее чем на 90 % периметра.

Вытрите краску, вложите в гнездо корпуса 1 клапан 27 пружину 26. Установите регулировочные прокладки 25, крышку 24 и закрепите болтами со стопорными шайбами. Регулируйте клапан при обкатке масляного насоса изменением количества прокладок 25.

Для общей сборки насоса промойте все трущиеся поверхности деталей в дизельном топливе и смажьте моторным маслом. Установите на короткий конец ведущего валика 18 плиту 13 и установите в шпоночный паз валика 18 сегментную шпонку.

Напрессуйте на валик 18 шестерню 20 до упора в плиту 13. Наденьте на ось 16 шестерню 15. Установите на заднюю крышку 19 корпус откачивающей секции 21 и валик 18 с шестернями и плитой. Наденьте на ось 16 ведомых шестерен нагнетательную шестерню 14. Установите корпус 1 нагнетательной секции и плиту 2.

Посадите в шпоночный паз ведущего валика 18 шпонку и установите шестерню 4 передней нагнетательной секции. Наденьте на ось 16 шестерню 8. Установите корпус 10 нагнетательной секции и переднюю крышку 3. Вставьте в отверстия две призонные шпильки 28 с навернутыми и расклепанными гайками по ранее нанесенным меткам.

Наденьте на призонные шпильки и болты 30 стопорные шайбы 29 и наверните гайки и болты до легкого соприкосновения с крышкой. Посадите шпонку 6 в паз валика 18. Отрегулируйте легкость вращения валика ведущих шестерен легким обстукиванием молотком корпуса нагнетательной и откачивающей секций.

Вращение валика ведущих шестерен должно быть легким и свободным, заедание и заклинивание не допускаются. Затяните гайки и болты поочередно до отказа и отогните концы стопорных шайб. Напрессуйте приводную шестерню 5 на валик так, чтобы между торцом шестерни и торцом передней крышки был зазор (0,3±0,2) мм.

Запрессуйте в отверстие приводной шестерни штифт 11 и расклепайте концы штифта. Установите на корпус нагнетательной секции прокладку 31 и маслоприемник 23 и закрепите его двумя болтами с пружинными шайбами.

Испытание и установка масляного насоса Т-170

Установите масляный насос на стенд и закрепите. При обкатке применяйте летнее моторное масло, нагретое до температуры 353 К±5 К (80°С±5°С). Присоедините к передней и задней крышкам трубки диаметром 19X1,5 мм с фланцами. Свободные концы трубок погрузите в масло на глубину не менее 30 мм.

Регулирование предохранительного клапана, обкатка и испытание масляного- насоса на производительность выполняются при (1700±50) мин-1 валика насоса.

Отрегулируйте предохранительный клапан на давление 0,95...1,05 МПа (9,5...10,5 кгс/см²) при закрытом кране на напорном трубопроводе изменением количества прокладок 25 (см. рис. 71) над фланцем клапана. При увеличении количества прокладок давление уменьшается, а при уменьшении — увеличивается.

Отрегулируйте краном на напорном трубопроводе давление на выходе нагнетательной секции насоса в пределах 0,7...0,8 МПа (7...8 кгс/см²), проверьте производительность насоса, которая должна быть не менее 90 л/мин. После регулировки обкатайте насос в течение 6 мин.

Установка

Смажьте лаком «Герметик» привалочную плоскость насоса и уложите на нее прокладку. Смажьте солидолом привалочную плоскость блока под насос, установите насос на блоке.

Вставьте валик привода с надетой муфточкой и стопорным кольцом во втулку передней крышки, вводя в зацепление шестерни насоса и валика привода. Посадите насос штифтами в отверстия блока и закрепите насос на блоке болтами со стопорными шайбами.

Подсоедините приводную муфточку к валику уравновешивающего механизма, вставьте штифты и наденьте стопорные кольца в канавки на муфточке. Подсоедините передний и задний маслоприемники. Проверните коленчатый вал, проверив наличие зазора между трубками маслоприемников и противовесами коленчатого вала. Допускается подгибание трубок. Установите снятые детали. Пустите дизель и проверьте давление масла в масломагистрали. Давление масла должно быть (при номинальной частоте вращения) 200...350 кПа (2...3,5 кгс/см²).

Снятие и установка маслоприёмника Т-170

Снятие маслоприёмника

Маслоприемники
Рнс. 70. Маслоприемники

Снимите переднюю часть картера дизеля. Расконтрите и отверните болты, крепящие центральный маслоприемник 1 (рис. 70), и снимите его. Расконтрите и отверните болты, крепящие передний маслоприемник 9 к масляному насосу 2. Расконтрите и отверните болт крепления переднего маслоприемника 9 к уравновешивающему механизму и снимите маслоприемник. Задний маслоприемник может быть снят при удалении задней части картера. Расконтрите и отверните болты, крепящие задний маслоприемник к масляному насосу 2.

Расшплинтуйте и отверните корончатую гайку 5 крепления маслоприемника 6 к кронштейну 8. Снимите шайбу 7, пружину 4 и маслоприемник. Если сняты обе части картера, то маслоприемники могут быть сняты вместе с масляным насосом как одна сборочная единица. Центральный маслоприемник может быть снят отдельно, через люки передней части картера.

Установка маслоприёмника

Перед установкой на дизель трубки и сетки маслоприемников должны быть промыты. Установите передний маслоприемник 9, закрепив его на фланце масляного насоса 2 и корпусе уравновешивающего механизма болтами со стопорными шайбами. Установите на левый задний прилив блока кронштейн 8 заднего маслоприемника и закрепите его болтами со стопорными шайбами. Установите задний маслоприемник 6 на шпильку кронштейна 8 и закрепите его фланцем на масляном насосе 2 болтами со стопорными шайбами.

Закрепите маслоприемник на кронштейне 8, установив на шпильку пружину 4, шайбу 7 и навернув корончатую гайку 5. Зашплинтуйте гайку шплинтом. Установите центральный маслоприемник 1 на фланец масляного насоса 2 так, чтобы входное отверстие было против магнитной пробки картера, и закрепите болтами со стопорными шайбами. Прокладки 3 установите на фланцы маслоприемников, предварительно смазав их лаком «Герметик».

Проверните коленчатый вал не менее чем на два оборота и проверьте наличие зазоров между противовесами коленчатого вала и трубками маслоприемников. Для обеспечения зазора допускается подогнуть трубки.

Снятие и разборка привода масляного насоса Т-170

Снятие

Снимите картер или его переднюю часть и передний маслоприемник. Снимите стопорные кольца 8 (см. рис. 71) приводной муфточки 6 и выньте пальцы 7. Отсоедините валик привода масляного насоса от валика уравновешивающего механизма, отодвинув приводную муфточку вдоль по шлицам приводного валика так, чтобы она вышла из зацепления с валиком уравновешивающего механизма.

Расконтрите и отверните болты крепления масляного насоса. Опуская насос на штифтах, выведите из втулки 2 валик 3 в сборе с шестерней. Чтобы насос не упал, посадите его на штифты и закрепите на один болт до новой сборки.

Разборка

Валик привода масляного насоса
Рис. 72. Валик привода масляного насоса

Высверлите расклепанную часть штифта 4 (рис. 72) сверлом диаметром 5 мм и выбейте его из шестерни 2. Снимите с валика шестерню 2 и выбейте из гнезда шпонку 3.

Технические требования

  1. Выступание торца втулки валика привода относительно торца прилива масляного насоса не допускается. Допускается утопание до 1 мм.

  2. Валик привода должен свободно проворачиваться от руки. Биение шлицевого конца валика относительно его оси допускается не более 0,8 мм.

  3. Соединительная муфточка должна свободно передвигаться вдоль оси по шлицам валиков привода масляного насоса и уравновешивающего механизма при любом их положении.

Сборка и установка привода масляного насоса Т-170

Сборка

Посадите в паз валика 1 медным молотком шпонку 3. Посадите валик со шпонкой в шестерню 2 привода масляного насоса так, чтобы поверхность В торца шестерни 2 выступала над поверхностью С валика 1 не более чем на 0,5 мм. Шестерня должна плотно сидеть на валике и не качаться.

Посадите в отверстие шестерни 2 и валика 1 штифт 4 и расклепайте с двух сторон.

Установка

Наденьте на валик привода и валик уравновешивающего механизма стопорные кольца 8 (см. рис. 71). Наденьте на шлицевый конец валика привода соединяющую муфту 6, сдвиньте ее по валику до отказа.

Опустите масляный насос 1 на штифтах и заведите валик в сборе 3 во втулку 2 масляного насоса 1. Посадите масляный насос на штифты и закрепите его болтами со стопорными шайбами. Концы шайб отогните на грани болтов. Соедините муфтой 6 валик 3 привода с валиком 4 уравновешивающего механизма 5. Совместите отверстия в валиках и муфте, вставьте пальцы 7 и наденьте стопорные кольца 8. Установите передний маслоприемник и картер или его переднюю часть.


Масляная система (смазка)