Запасные части ЧТЗ Запасные части ЧТЗ
Калининград
Например:
Актобе
Алдан
или
Выбрать автоматически
Актобе
Алдан
Алматы
Алчевск
Архангельск
Астана
Астрахань
Атырау
Баку
Балашиха
Барнаул
Белгород
Бердянск
Бишкек
Владивосток
Владикавказ
Воркута
Воронеж
Горловка
Грозный
Донецк
Екатеринбург
Иваново
Ижевск
Иркутск
Казань
Калининград
Каменск-Уральский
Караганда
Каховка
Кемерово
Киров
Комсомольск-на-Амуре
Костанай
Краснодар
Красноярск
Красный луч
Ленск
Луганск
Магадан
Магнитогорск
Макеевка
Махачкала
Мелитополь
Минск
Мирный (Якутия)
Москва
Мурманск
Нерюнгри
Нижневартовск
Нижний Новгород
Нижний Тагил
Новая каховка
Новокузнецк
Новосибирск
Новый Уренгой
Норильск
Ноябрьск
Нур-Султан
Омск
Оренбург
Ош
Павлодар
Пермь
Петрозаводск
Петропавловск
Петропавловск-Камчатский
Псков
Ростов-на-Дону
Салехард
Самара
Санкт-Петербург
Саратов
Севастополь
Семей
Симферополь
Сочи
Ставрополь
Сургут
Сыктывкар
Тараз
Ташкент
Токмак
Томск
Тында
Тюмень
Ульяновск
Усинск
Усть-Каменогорск
Уфа
Хабаровск
Ханты-Мансийск
Херсон
Челябинск
Чита
Шымкент
Экибастуз
Энергодар
Южно-Сахалинск
Якутск
Ваш город
Калининград
Войти
Запасные части к тракторам на одном сайте
+7 (932) 303-00-10
+7 (932) 303-00-10
г. Калининград, Московский проспект, д. 184
Пн-Пт: 9:30-18:30 Cб-Вс: Выходной
Отправить заявку


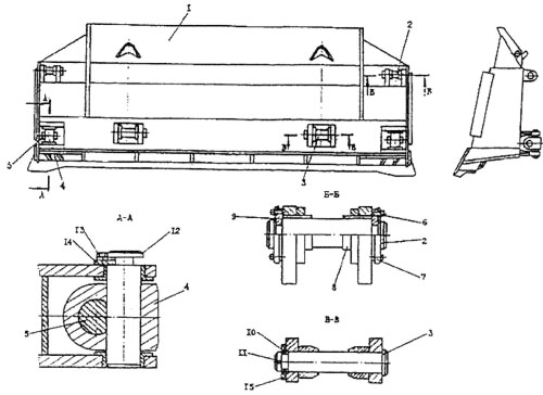
Отвал и толкающее устройство


/
с НДС 20%
Описание
Бульдозерное оборудование
Рис. 4 Бульдозерное оборудование
1-отвал; 2-гидрораскос; 3, 11-толкающий брус; 4, 13, 18, 20-крышка; 5, 14, 17-болт; 6, 12, 22-опора; 7-палец; 8-полукольцо; 9-колпачок; 10-винтовой раскос; 15, 19-прокладка; 16-тяга; 21-сухарь; 23-шплинт

Бульдозерное оборудование (рис. 4, 5) состоит из рабочего органа – отвала, толкающего устройства – толкающих брусьев, раскоса, тяги и гидросистемы перекоса отвала.

Бульдозерное оборудование
Рис. 5 Бульдозерное оборудование
1-отвал; 2-гидрораскос; 3-винтовой раскос; 4, 12, 14, 19-болт; 5-полукольцо; 6, 20, 22-палец; 7-кольцо; 8, 21-втулка; 9-опора; 10, 11-крышка; 13-планка; 15-толкающий брус; 16-крестовина; 17-ось; 18-ригель; 23-пробка

Рабочий орган бульдозера – полусферический отвал (рис. 6), соединяющийся с трактором с помощью толкающего устройства и предназначенный для срезания и перемещения грунта, а также для выполнения других работ. Полусферический отвал выполнен с выдвинутыми вперед крайними секциями. Толкающее устройство состоит из брусьев, соединяющихся через опорные шарниры с трактором, и предназначено для передачи толкающего усилия от трактора к отвалу.

Отвал
Рис. 6 Отвал
1-отвал; 2, 3, 12-палец; 4-крестовина; 5-ось; 6, 13-болт; 7-кольцо; 8-втулка; 9, 10-полукольцо; 11-шплинт; 14-ригель; 15-колпачок

Для изменения угла поперечного перекоса и регулирования угла резания отвала на толкающих брусьях установлены гидрораскос (рис. 7) и винтовой раскос (рис. 8).

Гидрораскос
Рис. 7 Гидрораскос
1-гидрозамок; 2-клапан; 3-крышка; 4-втулка; 5-скребок; 6-чистик; 7-комплект уплотнения; 8-шток; 9-поршень; 10, 11-клапан; 12-штуцер; 13-кольцо стопорное; 14-шайба регулировочная

Угол резания отвала составляет:
  • 50° – при ввернутом до отказа винте раскоса;
  • 55° – при установке размера 1950 мм между центрами проушин раскосов;
  • 60° – при вывернутом винте раскоса до появления резьбы.
ВНИМАНИЕ! Не допускается выступание более одного витка резьбы винта за торец раскоса 2 (рис. 8).

Винтовой раскос
Рис. 8 Винтовой раскос
1-винт, 2-раскос

Тяга (рис. 9) выполняет роль механизма компенсации напряжений при перекосе отвала и пои боковых нагрузках

Тяга
Рис. 9 Тяга
1-тяга; 2, 8-болт; 3, 7-крышка; 4-прокладка; 6-сухарь; 9-прокладка; 10-крышка

Гидравлическая система перекоса отвала предназначена для управления перекосом отвала в поперечной плоскости и состоит из гидрораскоса и гидролиний (трубы, рукава, соединения).

Гидрораскос (рис. 7) предназначен для управления перекосом отвала и состоит из гидроцилиндра с гидрозамком двухстороннего действия и предохранительного клапана.

Двухсторонний гидрозамок 1 с двумя запорно-регулирующими элементами служит для пропускания потока рабочей жидкости в обоих направлениях.

Предохранительный клапан 2 предназначен для предохранения гидроцилиндра от повышенного давления. При срабатывании предохранительного клапана уплотнения поршня гидроцилиндра заменить.
Отвал и толкающее устройство