Запасные части ЧТЗ Запасные части ЧТЗ
Калининград
Например:
Актобе
Алдан
или
Выбрать автоматически
Актобе
Алдан
Алматы
Алчевск
Архангельск
Астана
Астрахань
Атырау
Баку
Балашиха
Барнаул
Белгород
Бердянск
Бишкек
Владивосток
Владикавказ
Воркута
Воронеж
Горловка
Грозный
Донецк
Екатеринбург
Иваново
Ижевск
Иркутск
Казань
Калининград
Каменск-Уральский
Караганда
Каховка
Кемерово
Киров
Комсомольск-на-Амуре
Костанай
Краснодар
Красноярск
Красный луч
Ленск
Луганск
Магадан
Магнитогорск
Макеевка
Махачкала
Мелитополь
Минск
Мирный (Якутия)
Москва
Мурманск
Нерюнгри
Нижневартовск
Нижний Новгород
Нижний Тагил
Новая каховка
Новокузнецк
Новосибирск
Новый Уренгой
Норильск
Ноябрьск
Нур-Султан
Омск
Оренбург
Ош
Павлодар
Пермь
Петрозаводск
Петропавловск
Петропавловск-Камчатский
Псков
Ростов-на-Дону
Салехард
Самара
Санкт-Петербург
Саратов
Севастополь
Семей
Симферополь
Сочи
Ставрополь
Сургут
Сыктывкар
Тараз
Ташкент
Токмак
Томск
Тында
Тюмень
Ульяновск
Усинск
Усть-Каменогорск
Уфа
Хабаровск
Ханты-Мансийск
Херсон
Челябинск
Чита
Шымкент
Экибастуз
Энергодар
Южно-Сахалинск
Якутск
Ваш город
Калининград
Войти
Запасные части к тракторам на одном сайте
+7 (932) 303-00-10
+7 (932) 303-00-10
г. Калининград, Московский проспект, д. 184
Пн-Пт: 9:30-18:30 Cб-Вс: Выходной
Отправить заявку


Фильтр топливный тонкой очистки на Т-170


/
с НДС 20%
Описание
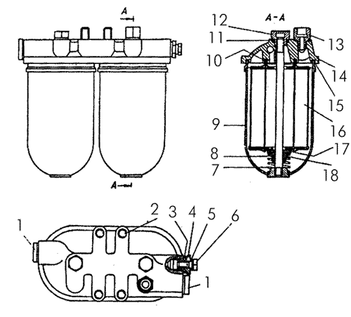
Фильтр топливный тонкой очистки Т-170
Поз.НаименованиеАртикулКол-во в сборке
0Крышка51-70-143СП1
0Фильтр топливный 51-70-153СП1
0Фильтр топливный тонкой очистки51-70-137СП1
1Штуцер700-41-37032
3Кольцо355-081
4Штуцер700-41-37091
5Кольцо 409381
6Пробка700-37-22911
7Пружина329-33-22
8Кольцо ФТ 22-8-18 ГОСТ 288-72329-23-12
9Стакан фильтраСБ329-08-62
10Кольцо700-40-86482
11Прокладка329-302
12Гайка329-292
13Штуцер700-41-38081
15Прокладка329-28-22
16Фильтр топливный 51-70-146СП элемент фильтрующий2
17Кольцо329-672
18Тарелка сальника329-22-12
Фильтр топливный тонкой очистки