Запасные части ЧТЗ Запасные части ЧТЗ
Калининград
Например:
Актобе
Алдан
или
Выбрать автоматически
Актобе
Алдан
Алматы
Алчевск
Архангельск
Астана
Астрахань
Атырау
Баку
Балашиха
Барнаул
Белгород
Бердянск
Бишкек
Владивосток
Владикавказ
Воркута
Воронеж
Горловка
Грозный
Донецк
Екатеринбург
Иваново
Ижевск
Иркутск
Казань
Калининград
Каменск-Уральский
Караганда
Каховка
Кемерово
Киров
Комсомольск-на-Амуре
Костанай
Краснодар
Красноярск
Красный луч
Ленск
Луганск
Магадан
Магнитогорск
Макеевка
Махачкала
Мелитополь
Минск
Мирный (Якутия)
Москва
Мурманск
Нерюнгри
Нижневартовск
Нижний Новгород
Нижний Тагил
Новая каховка
Новокузнецк
Новосибирск
Новый Уренгой
Норильск
Ноябрьск
Нур-Султан
Омск
Оренбург
Ош
Павлодар
Пермь
Петрозаводск
Петропавловск
Петропавловск-Камчатский
Псков
Ростов-на-Дону
Салехард
Самара
Санкт-Петербург
Саратов
Севастополь
Семей
Симферополь
Сочи
Ставрополь
Сургут
Сыктывкар
Тараз
Ташкент
Токмак
Томск
Тында
Тюмень
Ульяновск
Усинск
Усть-Каменогорск
Уфа
Хабаровск
Ханты-Мансийск
Херсон
Челябинск
Чита
Шымкент
Экибастуз
Энергодар
Южно-Сахалинск
Якутск
Ваш город
Калининград
Войти
Запасные части к тракторам на одном сайте
+7 (932) 303-00-10
+7 (932) 303-00-10
г. Калининград, Московский проспект, д. 184
Пн-Пт: 9:30-18:30 Cб-Вс: Выходной
Отправить заявку


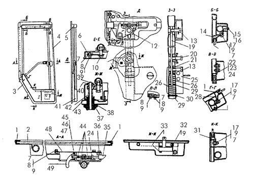
Дверь на Т-170


/
с НДС 20%
Описание
Дверь Т-170
Поз.НаименованиеАртикулКол-во в сборке
0БолтМ6-6gХ20.58.0192
0Дверь 50-59-707СП1
0Дверь 50-59-707-01СП1
0Дверь50-59-708СП1
0Дверь50-59-708-01СП1
0Накладка700-40-52281
0Панель700-42-26891
0Стойка50-59-1439-01СП1
1Уплотнитель700-40-8869-061
1Уплотнитель700-40-8869-071
2Стекло 50-59-8601
4Стойка50-59-14391
5Панель700-42-26871
6Шайба700-31-22041
7Шайба6.02.3КП.01910
8БолтМ6Х12.58.0194
9Шайба6Т65Г0921
10Шайба31308-11
11Рычаг50-59-13851
12Рычаг50-59-14361
13Болт 284522
14Накладка50-59-14371
15Шайба700-31-23531
16Шуруп700-35-20071
17ГайкаМ6Х6.01911
19Штанга50-59-557-01СП1
20Болт700-28-24831
21Направляющая50-59-11171
22БолтМ8Х16.58.0194
23Шайба8Т65Г094
24Шайба313866
25Механизм запирающий50-59-567СП1
26Пружина383562
28Накладка50-59-14331
29Шайба3135-12
30Шплинт3,3Х401
31Накладка50-59-14381
32БолтМ6Х16.58.0192
33БолтМ6Х35.58.0192
35Защелка50-59-515СП1
36Накладка50-59-14611
37Ручка50-59-537СП1
38Шайба50-59-11471
39Шплинт3,2Х181
40Втулка50-59-13861
41Панель700-42-26881
42Пружина700-38-26591
43Подкладка50-59-987-011
44Пружина950.41.1763
45ВинтВ.М3-6gХ25.58.0191
46ГайкаМ3Х6.0191
47Шайба3Т65Г091
48Крышка50-59-14411
49Рукоятка50-59-14571
Дверь