Запасные части ЧТЗ Запасные части ЧТЗ
Калининград
Например:
Актобе
Алдан
или
Выбрать автоматически
Актобе
Алдан
Алматы
Алчевск
Архангельск
Астана
Астрахань
Атырау
Баку
Балашиха
Барнаул
Белгород
Бердянск
Бишкек
Владивосток
Владикавказ
Воркута
Воронеж
Горловка
Грозный
Донецк
Екатеринбург
Иваново
Ижевск
Иркутск
Казань
Калининград
Каменск-Уральский
Караганда
Каховка
Кемерово
Киров
Комсомольск-на-Амуре
Костанай
Краснодар
Красноярск
Красный луч
Ленск
Луганск
Магадан
Магнитогорск
Макеевка
Махачкала
Мелитополь
Минск
Мирный (Якутия)
Москва
Мурманск
Нерюнгри
Нижневартовск
Нижний Новгород
Нижний Тагил
Новая каховка
Новокузнецк
Новосибирск
Новый Уренгой
Норильск
Ноябрьск
Нур-Султан
Омск
Оренбург
Ош
Павлодар
Пермь
Петрозаводск
Петропавловск
Петропавловск-Камчатский
Псков
Ростов-на-Дону
Салехард
Самара
Санкт-Петербург
Саратов
Севастополь
Семей
Симферополь
Сочи
Ставрополь
Сургут
Сыктывкар
Тараз
Ташкент
Токмак
Томск
Тында
Тюмень
Ульяновск
Усинск
Усть-Каменогорск
Уфа
Хабаровск
Ханты-Мансийск
Херсон
Челябинск
Чита
Шымкент
Экибастуз
Энергодар
Южно-Сахалинск
Якутск
Ваш город
Калининград
Войти
Запасные части к тракторам на одном сайте
+7 (932) 303-00-10
+7 (932) 303-00-10
г. Калининград, Московский проспект, д. 184
Пн-Пт: 9:30-18:30 Cб-Вс: Выходной
Отправить заявку


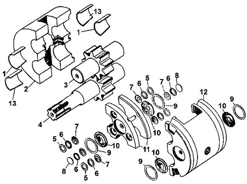
Детали насоса шестерённого НШ-100А-3Л на Т-170


/
с НДС 20%
Описание
Детали насоса шестерённого НШ-100А-3Л
Поз. Номер по каталогу Наименование детали
1 НШ100-4-04А Вкладыш левый
2 НШ100-3-05 Обойма подшипниковая
3 НШ100-3-03 Шестерня ведущая
4 НШ100-3-04 Шестерня ведомая
5 НШ100-2-19 Кольцо
6 НШ50-4-10-01 Прокладка
7 НШ100-2-21 Манжета
8 НШ100-2-10 Пластина
9 НШ100-2-20 Кольцо
10 НШ100-2-22 Манжета
11 НШ100-3-07 Платик
12 НШ100-3-06 Обойма подшипниковая
13 НШ100-4-06 Вкладыш правый
Детали насоса шестерённого НШ-100А-3Л